Apple научилась скручивать iPhone в рулон
Документ, поданный компанией в ноябре и опубликованный в июле, представляет собой концепцию сворачивающегося телефона, использующего тонкое стекло и специальные компоненты, чтобы предотвратить повреждение экрана при скручивании.
И хоть патент относится к электронным дисплеям общего назначения, Apple явно указывает, что данная конструкция может быть использована в телефонах, подтверждая свои амбиции на рынке сворачивающихся смартфонов.
Отметим, что если купертиновцы реализуют проект, то они наконец-то присоединятся к другим крупным производителям, таким как Samsung, Motorola и LG, которые также работают над сворачивающимися телефонами.
На данный момент ни одна из компаний не выпустила подобный смартфон на массовый рынок, хотя некоторые уже представили концепты и прототипы.
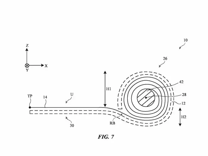
В материале говорится, что гибкую OLED-панель можно сворачивать внутрь, таким образом регулируя размеры экрана устройства. «Дисплей можно перемещать между развернутым состоянием, в котором он является плоским, и свернутым состоянием, в котором свернутая часть дисплея свернута для хранения», — отметили авторы патента.
Большое внимание в документе уделили защитному слою, который прикрывает экран смартфона. По словам инженеров, с целью не допустить поломки передней панели экран имеет большое количество сенсоров, которые оценивают давление на материал. Журналисты подчеркнули, что интерес вызывает подробное описание этих датчиков.
Также специалисты Apple упоминают прозрачный полимерный слой, который должен защитить гибкий экран от появления царапин. Кроме того, дисплей будет оснащен сенсорами, которые реагируют на жесты пользователя — таким образом, размеры экрана можно будет регулировать, не касаясь передней панели. В заключение журналисты Appleinsider заметили, что компания Тима Кука описывает в патентах возможность создания смартфона с гибким экраном как минимум с 2017 года.
В середине июля корейские инсайдеры рассказали, что корпорация Apple начала работу над портативным компьютером со складным экраном. Девайс может выйти на рынок в 2026 году.

